據金融界2025年5月23日消息,國家知識產權局信息顯示,河南省大方重型機器有限公司取得一項名為“一種起重機用折疊式安全護欄”的專利,授權公告號CN222892924U,申請日期為2024年07月。
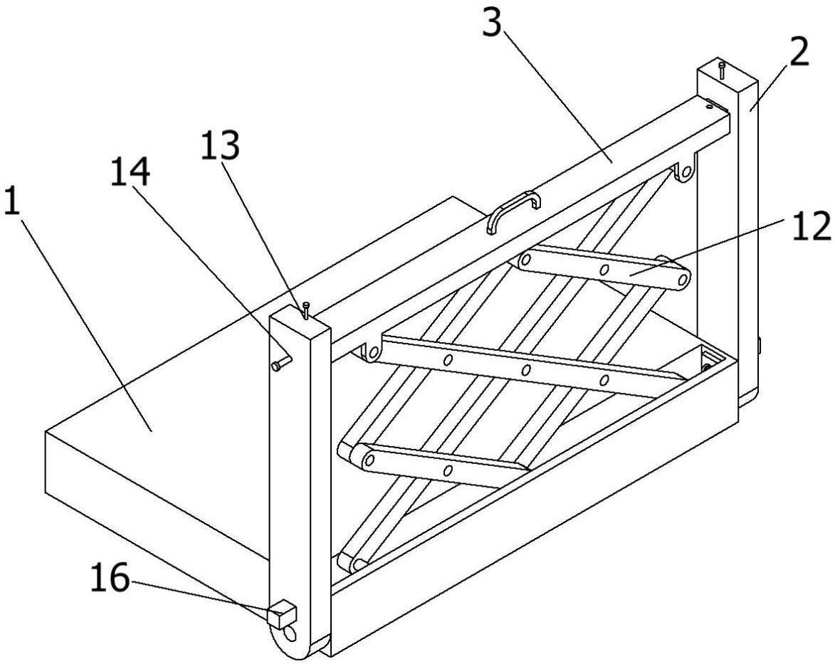
專利摘要顯示,本實用新型公開了一種起重機用折疊式安全護欄,涉及起重機設備相關技術領域,具體為一種起重機用折疊式安全護欄,包括底座、立柱和橫桿,底座的兩側開設有凹槽,底座的一側通過轉軸活動連接有立柱,立柱的一側開設有第一滑槽,第一滑槽的內部滑動連接有滑塊,橫桿的上表面固定連接有把手,橫桿的上表面開設有兩個通孔,橫桿的兩側開設有第二滑槽,第二滑槽的內部滑動連接有滑塊,滑塊的上表面開設有第三滑槽,第三滑槽活動連接有彈頂機構。通過升降機構的設置,使該起重機用折疊式安全護欄具備了折疊的效果,通過立柱和橫桿的配合設置,避免了在狹小空間作業時欄桿因為碰撞而損壞,減少了欄桿需要安拆的作業,操作簡單安全。

手機版|
關注公眾號|

下載手機APP


